LOGO OA教程 ERP教程 模切知识交流 PMS教程 CRM教程 开发文档 其他文档  
 
网站管理员

[点晴模切ERP]金蝶精斗云—教你如何根据发票设置凭证模板,一键生成凭证?

admin
2025年4月24日 7:30 本文热度 3412

系统有两种获取发票:

1、税局下载发票,导入精斗云

2、开通发票管理,一键获取进项、销项发票

发票导入后,那我们就开始准备生成凭证吧!

第一步:发票凭证模板设置,即设置发票生成凭证时所带出来的借贷方科目。

第二步:在编辑凭证模板时,可以自定义凭证模板中的摘要和科目。

【小提示:鼠标点击下方截图的方框处,可以自行录入文本形式的摘要内容,也可以选择发票中的字段进行摘要设置。如选取字段,系统会自动提取发票信息中对应的值。】

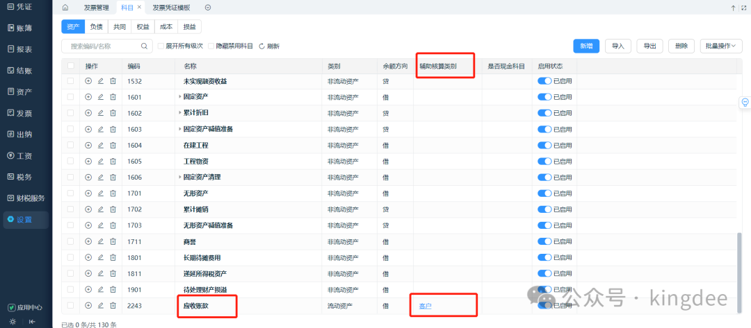
      情况一:科目设置的是【辅助核算】。

      目前系统可以自动将系统辅助核算的数据匹配到发票信息中的【乘客姓名(职员)/客户/供应商/存货/项目】。

      举例①:应收账款科目设置【客户】辅助核算,生成凭证时需要匹配到发票信息中的客户,实现步骤如下:

      发票凭证模板中科目直接选择一级科目【应收账款】,并且【不勾选】右侧的【自动匹配明细科目】。

      生成凭证时的效果如图所示,系统自动将辅助核算和客户名称进行匹配。

      举例②:应收账款科目设置【项目】辅助核算,生成凭证时需要匹配到发票信息中的项目,实现步骤如下:

      此时发票的项目内容需要录入在发票明细中的【商品名称】处,如下图所示:

      发票生成凭证的效果如下图所示:

情况二:科目下设的是【明细科目】。

      发票生成凭证时,将会用科目表中该科目的【同级明细科目名称】与发票上的【客户名称/供应商名称/乘客姓名】进行精准匹配。

      举例:应收账款下设多个明细科目,需要将【应收账款】明细科目和发票中的客户名称进行匹配,实现步骤如下:

      设置发票凭证模板时,需要在模板的【会计科目】处选择到应收账款的明细科目,即选择【1122001 应收账款_测试1】,并且【勾选】右侧的参数【自动匹配明细科目】。

      生成凭证时系统自动进行科目的匹配,效果如下图所示:

      第三步:生成凭证的参数设置。

      在【发票】-【发票管理】中,点击【生成凭证】右侧的箭头即可点击【生成凭证设置】进入到参数设置界面。


阅读原文:原文链接



点晴模切ERP更多信息:http://moqie.clicksun.cn,联系电话:4001861886

该文章在 2025/4/24 10:08:53 编辑过
关键字查询
相关文章
正在查询...
点晴ERP是一款针对中小制造业的专业生产管理软件系统,系统成熟度和易用性得到了国内大量中小企业的青睐。
点晴PMS码头管理系统主要针对港口码头集装箱与散货日常运作、调度、堆场、车队、财务费用、相关报表等业务管理,结合码头的业务特点,围绕调度、堆场作业而开发的。集技术的先进性、管理的有效性于一体,是物流码头及其他港口类企业的高效ERP管理信息系统。
点晴WMS仓储管理系统提供了货物产品管理,销售管理,采购管理,仓储管理,仓库管理,保质期管理,货位管理,库位管理,生产管理,WMS管理系统,标签打印,条形码,二维码管理,批号管理软件。
点晴免费OA是一款软件和通用服务都免费,不限功能、不限时间、不限用户的免费OA协同办公管理系统。
Copyright 2010-2025 ClickSun All Rights Reserved